Hoy realizamos este artículo con una mirada al pasado para analizar el presente. Concretamente viajaremos a la Coruña de los años 70 para estudiar una construcción pionera de la época que se erigió como un hito arquitectónico en el centro de la ciudad. Se trata de la Torre Hercón, que con sus 119 metros de altura se constituye como el rascacielos más alto de Galicia.

Para entender cómo y por qué se hizo un rascacielos de estas características, hemos de examinar la situación urbanística de la ciudad de A Coruña en los años 70. Una época en la que la migración del campo a la ciudad era una constante que originaba una necesidad de vivienda.
Los planes urbanísticos se adaptaban a la realidad de su tiempo y la arquitectura en altura era una solución óptima que liberaba suelo urbano y cedía espacio a las relaciones humanas.
En ese contexto de crecimiento positivo de la población, nacería la Torre Hercón. Situada en el centro de A Coruña, en la calle Costa Rica, recibiría su segundo nombre de la propia calle en la que se sitúa, conociéndose también, como Torre Costa Rica.
Coruña Vertical: el primer Skyline de España

En la siguiente fotografía, tomada en torno a 1975, se aprecia un momento singular en la construcción de Torre Hercón. Un mismo instante en el que otra de las grandes de la ciudad empezaba a emerger. La Torre Trébol, del arquitecto Carlos Meijide, con sus 90 m de altura, se elevaba en la misma zona urbana. Sería el comienzo de lo que se consideraría por aquel entonces como el primer skyline de España.

La construcción en altura previamente se dejaría entrever a través de otras torres iniciadas con anterioridad, tal es el caso de la Torre Galicia del arquitecto Manolo Gallego inaugurada en 1968 con 80 m de altura, o la Torre Golpe terminada en 1955 con 75m de alto del también arquitecto Santiago Rey Pedreira.

Hemos intentado reproducir la misma fotografía en la actualidad, aunque no se ha logrado la misma perpectiva, puesto que la imagen anterior creemos que fue tomada desde el agua.
Podemos apreciar a simple vista, como el volumen que alcanza Torre Trébol es mucho mayor que Torre Hercón. Es la solución tomada para albergar un mayor número de viviendas en sus plantas. Concretamente, dispone de 196 viviendas frente a las 73 de Torre Hercón. Actualmente, el ámbito que ocupan ambas torres, se configura como una zona de alta densidad.
Es la respuesta a las necesidades de una época concreta en la que las ordenanzas permitían la construcción de edificios de gran altura. Lo que ha provocado que A Coruña sea la ciudad con la altura media más alta de España, incluso por encima de Benidorm; puedes consultar este estudio de ciudades verticales en el que he colaborado, junto con otras siete voces expertas en arquitectura y urbanismo.


Torre Hercón, una construcción adelantada a su tiempo
El proyecto para Torre Hercón sería diseñado por un jovencísimo arquitecto, José Antonio Franco Taboada, que tendría aproximadamente 28 años cuando comenzó a proyectar este rascacielos. Ese sería el comienzo de su talentosa trayectoria como arquitecto, convirtiéndose dos años más tarde, en 1975, en el primer director de la Escuela Técnica Superior de Arquitectura de A Coruña —en esa misma escuela, tres décadas más tarde, recibiría clases de Geometría Descriptiva, del propio José Antonio Franco—.

El arquitecto, trabajaría de la mano con la empresa Constructora Hercón que llevaría a cabo la obra entre 1973-1975. La torre sería bautizada con el nombre de la propia empresa. Muestra de ello es la siguiente fotografía con el rótulo Hercón que coronaba al edificio. En la actualidad, afortunadamente, ya no se mantiene.

Su creador, un joven arquitecto José Antonio Franco Taboada, daría forma a una construcción pionera en la España de la época; constituida por aquel entonces como la obra más esbelta y segunda más alta del país con una altura total de 119 metros
La construcción se compone de 33 plantas de uso mixto. Las cinco primeras plantas se levantan sobre la calle Costa Rica y se destinan a oficinas y locales comerciales; las 24 plantas siguientes presentan uso residencial, distribuyéndose con solo tres viviendas por planta.

Como podemos apreciar en la siguiente fotografía, la torre se fragmenta entre el primer módulo compuesto de cinco plantas y los respectivos módulos de viviendas para dejar cabida a una planta libre destinada a instalaciones y otra al portal de viviendas, al nivel de acceso peatonal.

La última planta se proyecta en doble altura: en la época se le plantea un posible uso como cafetería-restaurante, pudiendo ofrecer una formidable vista de la ciudad a cualquiera que se prestase a subir hasta la cima. Por causas que desconozco, el mirador-restaurante lamentablemente no llega a realizarse.
Actualmente, dos tercios de la planta albergan la sede de Radio Galega y Televisión de Galicia. El resto de la planta, la ocupa una afortunada vivienda que disfruta de unas vistas inigualables.

Todo el conjunto se construye sobre dos sótanos que albergan los garajes y a los que se accede desde la Avda. de Arteixo.
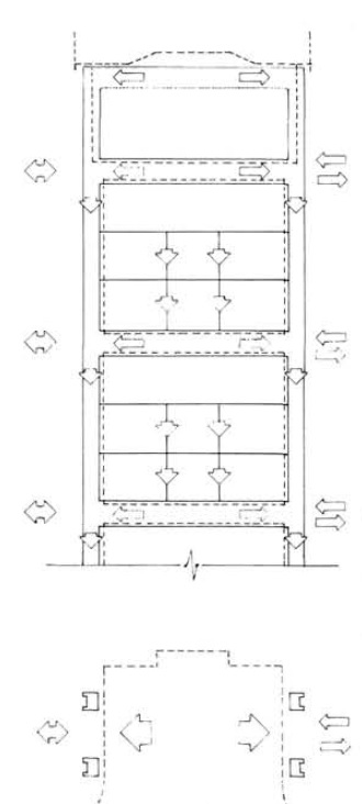
En el siguiente esquema se analiza la distribución del conjunto.





Tras su construcción, fue el segundo edificio de España más alto de viviendas y oficinas. Solo por delante se situaba la Torre Madrid levantada con 142m de altura durante los años 1957-1960. Sin embargo, la Torre Hercón emergería como la torre más esbelta de España y como el único rascacielos esbelto de la nación.
Torre Hercón, la esbelta de Costa Rica
La esbeltez, calculada como el cociente entre el ancho y la altura de un edificio, en la Torre Costa Rica corresponde con la proporción 1:12, (9,90m de ancho máximo crujía/ 119 m de altura), considerada en términos estructurales como el ratio mínimo de esbeltez atribuido a rascacielos.
En los siguientes esquemas realizados a mano para el artículo, analizamos la esbeltez de la Torre.


Como dato anecdótico, uno de los edificios neoyorkinos que mantiene la misma proporción de esbeltez que Torre Hercón con su proporción 1:12 es la torre One Madison Park situada en Manhattan, que alcanza los 188m de altura.

El siguiente esquema, muestra la comparación entre Torre Hercón y el que fue denominado el primer «rascacielos de España», El Banco Pastor.

El origen de Hercón: una semilla con forma de hexágono
El hexágono, la figura geométrica de seis lados, es el génesis proyectual. Realizando el siguiente esquema, hemos podido comprender cómo ha surgido la planta de Torre Hercón de la siguiente manera:
- Del centro de un primer hexágono regular de seis lados idénticos parten mediatrices que dividen en dos partes iguales cuatro de sus lados.
- Surge un segundo hexágono mayor perimetral que prolongará cuatro de sus lados hacia el exterior a modo de rectángulo y que dará paso a la configuración de la planta de Torre Hercón.
Actualmente, el vestíbulo del edificio en cada una de sus plantas mantiene el hexágono, mostrando su origen proyectual a todo aquel que visite la Torre.
Con una planta tripartita ordenada en volumen, su forma prismática figurativamente puede recordar a un escalímetro, de ahí que se apode popularmente al rascacielos en la ciudad como “el escalímetro”.
Un interior a la altura de su exterior
Su ingeniosa distribución es pionera en cuanto a la amplitud de espacios bien organizados y a su flexibilidad en la disposición. Se consigue que todas las viviendas sean exteriores, es decir, con luz y ventilación natural, incluyendo los baños. Por aquel entonces, se aprueba con creces las exigencias de cumplimiento de la normativa para viviendas de protección oficial.
En el siguiente plano de viviendas, apreciamos las virtudes organizativas.

En cada planta, cada una de las tres viviendas comparte un vestíbulo de nada más y nada menos que 25 metros. Con este tipo de aciertos en la proyección de espacios, se evitan situaciones tan incómodas como pisar el felpudo del vecino para entrar en casa, así como fastidiosos tropiezos con un paraguas mojado o bolsas de la compra.
Interiormente, se separan la zonas de padres e hijos a través de compartimentos independientes en los que se sitúa la zona de vestidor y baño. De esa manera, los baños pueden utilizarse al margen del dormitorio. La intimidad de los usos queda manifestada en los espacios.
Recientemente, consultando mi biblioteca personal, descubrí una obra con una agrupación en planta muy similar a la de Torre Hercón, aunque con un número mucho menor de plantas. Se trata del edificio de viviendas condominio universitario, situado en Rio Piedras (Puerto Rico) de los arquitectos Amaral y Morales. A continuación, puede apreciarse la planta de la obra.

Torre Hercón: un esquema estructural pionero
La esbeltez de la Torre Hercón junto a su altura fue un hándicap a la hora de afrontar el diseño estructural, ello es debido a los altos esfuerzos horizontales que debería soportar por acción del viento y sismo.

Una estructura metálica convencional de la época no cumplía las exigencias de la torre y se opta por un sistema que aúne la tradición constructiva del hormigón armado con las ventajas de la estructura metálica. Es por ello que el ingenio arquitectónico propone un sistema estructural vertical formado por una superestructura compuesta de diez tramos:
- El primer tramo, formado por cinco plantas, adoptaría una estructura reticular donde las cargas se trasmiten de forma individualizada de cada planta al suelo.
- Los ocho tramos siguientes, soportan las cargas correspondientes a una subestructura de tres plantas de viviendas que trasmiten las cargas a los pilares exteriores hasta la cimentación.
En el siguiente esquema estructural apreciamos cómo funciona la transmisión de cargas.

El orden interior estructural se materializa en la composición exterior de fachada. Los pilares exteriores ceden espacio al interior en un juego de harmonías constructivas y funcionales


El acierto estructural da lugar a plantas de viviendas diáfanas derivando en una superficie útil de 120 metros cuadrados. No debemos de olvidar que se trataba de viviendas de protección oficial con una superficie que a día de hoy es considerada como un lujo.
En líneas generales, los edificios que se construyen actualmente en base a mínimos miran recelosos a Torre Hercón, y nos preguntamos ¿por qué ya no se hacen viviendas así, en qué lugar ha quedado la arquitectura?
Una piel adaptada al clima

Su fachada se resuelve con paneles prefabricados de hormigón blanco atendiendo al clima suave de la ciudad de A Coruña: 15ºC de temperatura media, 2000h de sol, precipitación moderada de 1000ml y su situación geográfica en el ventoso istmo de la península coruñesa, dialogan con una obra adaptada a ellos en todos sus elementos constructivos.


El acertado diseño de los paneles dispuestos de modo entrelazado, evita la entrada de agua en la fachada.

En la siguiente fotografía, podemos apreciar como el grosor del panel resta ángulo de visión desde la línea de ventana cortando la sensación de vértigo que se produce en edificios de altura.


Hercón: un icono español de la arquitectura vertical

Actualmente, podemos afirmar que Torre Hercón casi se mantiene como el primer día, sus 44 años de historia apenas se le notan. Su posibilidad de mantenimiento prevista en el diseño hizo que a día de hoy se mantenga exteriormente como en los años 70.
La calidad espacial, funcional, estructural y constructiva de Hercón se aúna en este icono Español de la arquitectura vertical
Tal y como acontece con todos los exponentes, el tiempo le dará la razón y recibirá un reconocimiento mayor del que tiene.
Desde aquí, con la elaboración de este artículo, deseamos haber contribuido al conocimiento y puesta en valor de este grande de la arquitectura.
Como siempre, deseamos que hayas disfrutado con su lectura.
Texto y análisis: Laura Gil Ferradás Fotografía: Juan Luis Frieiro
Bibliografía:
Architektur und Wohnform. Verlagsanstalt. Alexander Koch GmbH. Jahresban. 1969.
Revista Informes de la Construcción Vol. 30, nº 292. Julio de 1977.
